Dom > Produkty > Śruba > Śruba z łbem sześciokątnym > Śruba sześciokątna o wysokim momencie obrotowym
        Śruba sześciokątna o wysokim momencie obrotowym
        • Śruba sześciokątna o wysokim momencie obrotowymŚruba sześciokątna o wysokim momencie obrotowym
        • Śruba sześciokątna o wysokim momencie obrotowymŚruba sześciokątna o wysokim momencie obrotowym

        Śruba sześciokątna o wysokim momencie obrotowym

        Gwintowany koniec śruby sześciokątnej o wysokim momencie obrotowym ma rdzeń w kształcie łuku, dzięki czemu może wytrzymać większy moment obrotowy. Sześciokątna główka ułatwia montaż i demontaż, dzięki czemu jest szeroko stosowana w budownictwie. Xiaoguo to producent elementów złącznych z ponad 30-letnim doświadczeniem.

        Wyślij zapytanie

        Opis produktu

        Śruby sześciokątne o wysokim momencie obrotowym są bardzo powszechne w budownictwie — to one łączą stalowe ramy, mosty i budynki prefabrykowane. Dzięki nim belki i kolumny są ładne i bezpieczne. Można je również spotkać wszędzie w samochodach, służą do mocowania elementów takich jak silnik i podwozie. Znajdują one również zastosowanie w ciężkich maszynach i sprzęcie rolniczym, ponieważ wyjątkowo dobrze wytrzymują silne wibracje i zmienne obciążenia. Działają niezawodnie pod obciążeniem i stanowią rodzaj uniwersalnego elementu złącznego. W wielu zastosowaniach inżynieryjnych i przemysłowych cieszą się zaufaniem, że tworzą mocne, a jednocześnie dające się rozłączać punkty połączeń, zapewniając bezpieczeństwo i trwałość każdego projektu.

        Wprowadzenie do materiału produktu

        Materiał, z którego wykonana jest śruba sześciokątna, ma ogromne znaczenie dla jej działania, trwałości i tego, czy pasuje do określonych środowisk. Najpopularniejsze śruby sześciokątne są wykonane ze stali węglowej — dobrze równoważą wytrzymałość i przystępność cenową do zastosowań ogólnych. Jeśli potrzebujesz lepszej odporności na korozję, dobrym wyborem będą śruby sześciokątne ze stali nierdzewnej o wysokim momencie obrotowym, takie jak gatunki 304 lub 316. Świetnie sprawdzają się w przemyśle morskim, chemicznym i spożywczym. Gdy jest gorąco lub potrzebne są produkty niemagnetyczne, ludzie wybierają śruby sześciokątne z mosiądzu lub brązu. Do bardziej trudnych zadań — takich jak lotnictwo i kosmonautyka lub inne ważne projekty — ludzie używają śrub sześciokątnych wykonanych ze stopów o wysokiej wytrzymałości, takich jak stop tytanu lub stop Inconel. Materiały te mają wysoką wytrzymałość, umiarkowaną wagę i wyjątkowo dobrze wytrzymują wysokie temperatury i korozję

        Sesja pytań i odpowiedzi

        Jakim międzynarodowym normom odpowiadają śruby sześciokątne o wysokim momencie obrotowym? Jakie poziomy intensywności są dostępne do wyboru?

        Nasze śruby sześciokątne o wysokim momencie obrotowym spełniają powszechne standardy międzynarodowe — takie jak ISO 4014, ISO 4017, DIN 933, DIN 931 i ASTM A307. Jeśli chodzi o stopnie wytrzymałości, mamy klasy 4.8 i 8.8. W naszej ofercie znajdują się również te o większej wytrzymałości: 10,9 i 12,9. Każda śruba ma wyraźne oznaczenie ułatwiające identyfikację. W ten sposób otrzymujesz odpowiedni, certyfikowany produkt spełniający Twoje specyficzne potrzeby konstrukcyjne lub maszynowe, zapewniający bezpieczeństwo i wydajność.


        High Torque Hexagonal bolt6

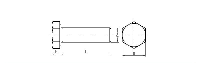
                                                                                                                                                                                                           mm
        d S k d Nitka
        maks min maks min maks min
        M3 5.32 5.5 1.87 2.12 2.87 2.98 0.5
        M4 6.78 7 2.67 2.92 3.83 3.98 0.7
        M5 7.78 8 3.35 3.65 4.82 4.97 0.8
        M6 9.78 10 3.85 4.14 5.79 5.97 1
        M8 12.73 13 5.15 5.45 7.76 7.97 1.25
        M10 15.73 16 6.22 6.58 9.73 9.96 1.5
        M12 17.73 18 7.32 7.68 11.7 11.96 1.75
        M14 20.67 21 8.62 8.98 13.68 13.96 2
        M16 23.67 24 9.82 10.18 15.68 15.96 2
        M18 26.67 27 11.28 11.7 17.62 17.95 2.5
        M20 29.67 30 12.28 12.71 19.62 19.95 2.5

        Gorące Tagi: Śruba sześciokątna o wysokim momencie obrotowym
        Powiązana kategoria
        Wyślij zapytanie
        Prosimy o przesłanie zapytania w poniższym formularzu. Odpowiemy ci w ciągu 24 godzin.
        X
        Używamy plików cookie, aby zapewnić lepszą jakość przeglądania, analizować ruch w witrynie i personalizować zawartość. Korzystając z tej witryny, wyrażasz zgodę na używanie przez nas plików cookie. Polityka prywatności
        Odrzucić Przyjąć